Карта письмо Главная
тел. +375(33)6666-998 (МТС) +375(29)668-48-08 (A1)


Новости На складе в Минске КРАНЫ ШАРОВЫЕ стальные. Действует система скидок!
На складе в Минске компенсаторы резиновые фланцевые (гибкая вставка).
Каталоги на собственное производство спрашивайте у менеджеров
Все новости»
Продукция  » Фильтры

Собственное производство

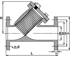
Фильтр сетчатый. DN 15 - DN 500. PN 16

Фильтр сетчатый Схема Фильтр сетчатый

Характеристики:

DN от 15 до 500
Корпус и крышка: Ковкий чугун 25.
Сетка: Нержавеющая сталь.
Сливная пробка: Латунь.
Присоединение фланцевое по ГОСТ 12815-80
Рабочая температура: до +180
Применение:Системы холодного и горячего водоснабжения, системы подачи горячей воды высокого давления, а также системы подачи сжатого воздуха, химические жидкости и т.д.
DyLH
1513065
2015070
2516080
3218090
40200135
50230150
65290160
80310200
100350240
125400290
150480330
200600380
250730480
300850550
350980680
4001100780
4501200830
5001250910

Собственное производство

Грязевик вертикальный фланцевый. DN 50 - DN 250. PN 16

Грязевик вертикальный Схема Грязевик вертикальный

Характеристики:

DN от 50 до 250
Корпус: Сталь 3кп.
Сетка: Сталь 20Х13.
Присоединение фланцевое по ГОСТ 12815-80
Рабочая температура: до +180
Применение:для очистки воды от примесей в системах водяного отопления.
DNLH
50260270
65270280
80280280
100473447
125473465
150526563
200626669
250730785

Фильтр сетчатый чугунный фланцевый (FAF, Турция). PN 16
Фильтр сетчатый

Характеристики:

DN от 15 до 400
Корпус и крышка: чугун GG25.
Фильтр: нержавеющая сталь.
Сливная пробка: латунь с уплотнением PTFE.
Присоединение фланцевое по ГОСТ 12820-80
Рабочая температура: от -15 до +200
Применение:Пар, природный газ, системы холодного и горячего водоснабжения, системы подачи горячей воды высокого давления, а также системы подачи сжатого воздуха, сжиженный нефтяной газ, химические жидкости и т.д.
Схема Фильтр сетчатый
DyLdgkDHRIbfЧисло отвер-йПропускная способность, м3/чВес, кг
1513015466595683/8"1414244,63
20150205675105803/8"1416248,63,8
25160256585115873/8"14163413,54,9
3218032761001401293/8"19183422,47,4
4020040841101501453/8"19183434,58
5023050991251651363/8"19203453,110,8
65290651181451851701/2"19203478,814,6
80310801321602002051/2"192238122,219,8
1003501001561802202261/2"192438182,828,5
1254001251842102502701/2"192638284,541
1504801502112402853271/2"232638396,658
2006002002662953403631/2"2330312700,0101,5
2507302503193554055111/2"2832312905,3188
3008503003704104605341/2"28324121189233
3509803504294705207731"28364161476375
40011004004805255808301"31384161804580

Фильтр осадочный для системы центрального отопления (FERRO, Польша).
PN 2
Фильтр осадочный

Характеристики:

Материал корпуса: латунь.
Уплотнение: резина NBR.
Фильтр: нержавеющая сталь.
Тщательность очистки фильтра:d 0,4мм, примерно 70 очек на 1 см2.
Рабочие параметры: горячая вода, холодная вода для систем центрального отопления и водоснабжения.
НаименованиеDN
F021/2"
F033/4"
F061"
F045/4"
F056/4"
F072"
F082 1/2"
F093"
F104"
Схема Фильтр осадочный

Фильтр магнитный фланцевый ФМФ, чугунный. PN 16
Схема Фильтр чугунный магнитный

Характеристики:

DN от 50 до 100
Корпус и крышка: чугун.
Стержень: сталь или латунь.
Каждый фильтр комплектуется двумя заглушками, закрепленными в отверстиях магистральных фланцев.
Присоединение фланцевое по ГОСТ 12820-80
Рабочая температура: от +150
Применение:Вода и неагрессивные среды. Предназначен для установки на трубопроводах для улавливания механических примесей в неагрессивных средах. Устанавливается перед счетчиками холодной и горячей воды.


DyD, BxBD1LHCL1H1dn, штВес, кг
50125х125125230140-28020018410,0
80195160310195-38527518820,5
100215180350215-42531518826,0

Фильтр чугунный осадочный фланцевый. PN 16
Схема Фильтр чугунный осадочный

Характеристики:

DN от 50 до 100
Корпус и крышка: чугун.
Стержень: сталь или латунь.
Присоединение фланцевое по ГОСТ 12820-80
Рабочая температура: от +150
Применение:Вода. Предназначены для установки на трубопроводах для улавливания стойких механических примесей в неагрессивных жидкостях.


DyDD1D2BhLdnВес, кг
50-1251021253+/-223018410,0
65-1451221403+/-229018416,5
80-1601331503+/-231018419,0
100215180158-3+/-235018426,0

ЗАО "Международный маркетинговый центр "Трубопроводная арматура и оборудование”

тел. +375(33)6666-998 (МТС) +375(29)668-48-08 (A1) эл.почта zaotpa@mail.ru