Карта письмо
Главная
тел. +375(33)6666-998 (МТС) +375(29)668-48-08 (A1)
Продукция Задвижки  »
Затворы
Электроприводы  »
Краны шаровые  »
Клапаны (вентиля)  »
Котельное оборудование  »
Фильтры
Детали трубопроводов
Фланцы
Полимерные трубопроводы  »
Фитинги
Уплотнительные материалы
Метизы
Производство Задвижки
Задвижки ножевые
Задвижки щитовые
Затворы

Клапана
Фильтр
Грязевик вертикальный / горизонтальный
Сепаратор
Сальниковый ввод
Проставка монтажная
Компенсатор монтажный / резиновый
Колонка управления с удлинительным штоком
Плавающие фланцы
Краны шаровые
Стенд для испытаний ТПА


Новости На складе в Минске КРАНЫ ШАРОВЫЕ стальные. Действует система скидок!
На складе в Минске компенсаторы резиновые фланцевые (гибкая вставка).
Каталоги на собственное производство спрашивайте у менеджеров
Все новости»

Собственное производство  » Затворы дисковые

ЗАО "Международный маркетинговый центр "Трубопроводная арматура и оборудование”

Серия БЮДЖЕТНАЯ.

Затворы дисковые от производителя в Минске

Затвор дисковый с мягким уплотнением (Баттерфляй). DN 40 - DN 1200. PN 10, 16

Затвор дисковый

Характеристики:

Управление: ручное управление, редуктор, под привод.
Корпус*: Серый чугун / Высокопрочный чугун / Сталь 20.
Диск*: СЧ с никелированным покрытием / ВЧ с никелированным покрытием / Сталь.
Уплотнение*: СКЭПТ, СКН (Нитрил), СкФ (Viton),PTFE.
Исполнения: стяжной.
Рабочая температура: до +130 С

Применение: Вентиляция, водоснабжение, отопление.
Применение для чугуна: коммунальщики, водоснабжение.
Применение для стали: коммунальщики, теплоснабжение, энергетики
.
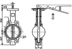
Схема Серия БЮДЖЕТНАЯ
DNLН1Н2Н3D1 (PN10/PN16)Вес / с рукоят. / с редукт.
40336813930110-
504380161301252,5 / 3 / 7,7
654689175301453,2 / 3,7 / 8,4
804695181301603,6 / 4,1 / 8,8
10052114200301804,9 / 5,4 / 10,1
12556127213302107,0 / 7,8 / 12,2
15056139226302407,8 / 8,6 / 13
200601752603729513,2 / 14,5 / 26,2
2506820329237350 / 35519,2 / - / 32,3
3007824233737400 / 41032,5 / - / 47,5
3507826736845460 / 47041,3 / - / 56,3
400102298,640051,2515 / 52561 / - / 91
45011431842251,2565 / 58579 / - / 109
50012735548064,2620 / 650128 / - / 200
60015446456270,2725 / 770188 / - / 260
700157535629157840284 / - / 417
800190600972157950368 / - / 501
9001956607222351050713 / - / 915
10002167308002351160 / 1170864 / - / 1066
12002548759403151380 / 13901250 / - / 1550

ЗАО "Международный маркетинговый центр "Трубопроводная арматура и оборудование”

Серия ВОДОСНАБЖЕНИЕ.

Затвор дисковый с двойным эксцентриситетом. DN 300 - DN 2000. PN 10, 16.

Серия ВОДОСНАБЖЕНИЕ

Характеристики:

Корпус*: Высокопрочный чугун, Сталь.
Диск*: Высокопрочный чугун с никелированным покрытием, Сталь.
Уплотнение*: СКЭПТ, СКФ(Viton), нж.
Управление: ручное управление, редуктор, под привод.
Присоединение: фланцевое.
Рабочая температура: до +150 С (в зависимости от уплотнения).


Применение: Водоснабжение, хозяйственная и питьевая вода.
Применение для чугуна: магистральное водоснабжение (водоканалы);
Применение для стали: сетевая вода, водозаборы, теплоснабжение.

Схема Серия ВОДОСНАБЖЕНИЕ
DNLL*(укороченный)Н1Н2
PN10PN16PN10PN16
300270178274284349349
350290190319319390390
400310216345345415415
450330222382382519519
500350229420420489489
600390267476476563563
700430292550550630630
750470318530790
800470318600600678678
900510330650665805838
1000550410775775960960
11006304707601080
120063047088091011071127
14007105309201235
160079060010451415
180087067011701725
200095076013011684

ЗАО "Международный маркетинговый центр "Трубопроводная арматура и оборудование”

Серия ЭЛИТ.

Затвор дисковый с тройным эксцентриситетом. DN 100 - DN 2000. PN 6,10,16,25.

Серия ЭЛИТ

Характеристики:

Корпус*: Сталь 20, Сталь 08X18H10.
Диск*: Сталь 20, Сталь 08X18H10.
Уплотнения: Сталь 08X18H9Т.
Тип корпуса:фланцевый; под приварку.
Управление*: ручное управление, редуктор, под привод.
Рабочая температура: до +500 С (в зависимости от уплотнения)

Применение: Нефть, пар, газ, химия.
Применение: Теплоснабжение.
Схема Серия ЭЛИТ ФЛАНЦЕВЫЙ
DNLL*(укороченная)PN 6PN 10PN 16PN 25
DD1DD1DD1DD1
100127190 210170220180220180235190
125140200 240200250210250210270220
150140210 265225285240285240300250
200152230 320280340295340295360310
250165250 375335395350405355425370
300178270 440395445400460410485430
350190290 490445505460520470555490
400216310 540495565515580525620550
450222330 595550615565640585670600
500229350 645600670620715650730660
600267390 755705780725840770845770
700292430 860810895840910840960875
800318470 975920101595010259501085990
900330510 10751020111510501125105011851090
1000410550 11751120123011601255117013201210
1200470630 14051340145513801485139015301420
1400530710 16301560167515901685159017551640
1600600790 18301790195018201930182019751860
1800670870 20451970211520202130202021952070
2000760950 22652180232522302345223024252300
Схема Серия ЭЛИТ ПОД ПРИВАРКУ
DNLН (с приводом)B (D1)A (D2)Вес
10019038710011023
125200413125135-
15021045915016142
20023058520022250
250250649250278-
300270725300329150
350290926350382220
4003101058400413300
4503301053450484360
5003501289500516375
6003901375600619520
7004301519700726570
8004701659800826830
9005101829900926-
10005501949100010281300
12006302243120012281800

ЗАО "Международный маркетинговый центр "Трубопроводная арматура и оборудование”

Запорное устройство

DN 100 - DN 1200. PN 25. Температура: -29/+425

Запорное устройство

Характеристики:

DN от 100 до 1200

Состав: два затвора дисковых с 3-м эксцентриситетом, стальные.

Габаритные размеры: L = Lзатвора + L* + Lзатвора, где L* - под заказ.

Принцип действия: два затвора дисковых с 3-м эксцентриситетом ставятся напротив друг друга так, чтобы указатели направления потока среды затворов были встречны, что обеспечивает 100% надежное перекрытие потока рабочей среды в обоих направлениях.

Преимущества:
- в отличии от шарового крана габариты запорного устройства меньше, надежность выше, т.к. устройство состоит из двух затворов и при поломке одного затвора, второй затвор на время ремонта может перекрыть поток рабочей среды;
- стоимость запорного устройства в разы меньше, чем стоимость шарового крана;
- конструкция затвора проще, чем у шарового крана, и ремонтопригодность выше.
Область применения: перераспределительные трубопроводы.
Применение: в трубопроводах со средним давлением.


Дополнительная полезная информация о затворах дисковых

Дисковый затвор относится к виду запирающих элементов трубопроводной арматуры. Он имеет форму диска, поворачивается вокруг оси располагающейся под прямым либо непрямым углом оси относительно направления потока рабочей среды. Предназначением данного типа изделий являются запорные, а также регулирующие функции арматуры. Поворотный дисковый затвор является сильной альтернативой таким типам трубопроводной арматуры, как краны, вентили и задвижки.

Сферы, где применяются дисковые затворы, очень широки, и включают в себя:

Из достоинств, которые присущи затворам, можно отметить следующие:

В дисковом затворе запирающий элемент осуществляет перекрытие хода потока рабочей среды за счет поворота вокруг оси на 90 градусов.
Дисковая ось вращения может быть как не совпадающая с основной (эксцентриковые системы), так и собственная (осевые элементы).

Присоединение дисковых затворов к трубопроводу может быть стяжным, межфланцевым или фланцевым. Стальные затворы подсоединяются методом муфтового соединения, либо под приварку. Если имеет место стандартное межфланцевое присоединение, фланцы трубопроводов соединяются посредством шпилек. Иногда системы обладают собственными фланцами, соединение которых производится с обратными трубопроводными фланцами.

Управление дисковыми затворами осуществляется либо ручным методом, с использованием маховика или ручки, или же механизированным способом, когда применяется электропривод, гидропривод или пневмопривод.

По своему функционалу затворы разделяются на предназначенные для теплоснабжения, и предназначенные для водоснабжения.

ЗАО "Международный маркетинговый центр "Трубопроводная арматура и оборудование”

тел. +375(33)6666-998 (МТС) +375(29)668-48-08 (A1) эл.почта zaotpa@mail.ru